補充するには
液面がLOWの位置まで低下したら、ウォッシャー液を補充する

知識
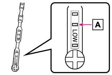
- ゲージの使い方
ウォッシャー液の膜が張っているゲージの穴部の位置を確認して、ウォッシャー液の残量を判断します。
残量がゲージの先端から2つめの穴部より下まわった(LOWの位置まで低下した)ら、ウォッシャー液を補充してください。

- 現在の液量
警告
- ウォッシャー液を補充するとき
ハイブリッドシステムが熱いときやハイブリッドシステム作動中は、ウォッシャー液を補充しないでください。ウォッシャー液にはアルコール成分が含まれているため、ハイブリッドシステムなどにかかると出火するおそれがあり危険です。
注意
- ウォッシャー液について
ウォッシャー液のかわりに、せっけん水やエンジン不凍液などを入れないでください。塗装にしみが付くことや、ポンプが故障してウォッシャー液が出なくなるおそれがあります。
- ウォッシャー液のうすめ方
必要に応じて水でうすめてください。水とウォッシャー液の割合は、ウォッシャー液の容器に表示してある凍結温度を参考にしてください。
