-
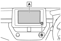
ディスプレイ
タッチスクリーンを指で直接ふれて操作します。
-
[VOL
]ノブオーディオのON/OFFや音量を調整できます。(オーディオのON/OFFと音量を調整する)
知識
-
液晶画面は、周囲環境や見る方向により画面が白っぽく見えたり、黒っぽく見えたりします。
-
太陽の光などの外光が画面にあたると画面が見にくくなります。
-
偏光レンズを使用したサングラスなどを装着すると、画面が暗く見えたり、見にくくなったりします。
警告
安全のため、運転者は走行中に極力操作をせず、停車させてから操作をしてください。走行中の操作はハンドル操作を誤るなど思わぬ事故につながるおそれがあり危険です。なお、走行中に画面を見るときは、必要最小限の時間にしてください。
注意
エンジンが停止した状態で長時間使用しないでください。バッテリーがあがるおそれがあります。

