SRSエアバッグは乗員に重大な危害がおよぶような強い衝撃を受けたときにふくらみ、シートベルトが体を拘束する働きと併せて乗員への衝撃を緩和させます。
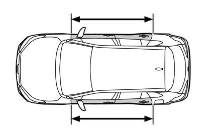
SRSエアバッグの配置

フロントSRSエアバッグ
- 運転席SRSエアバッグ/助手席SRSエアバッグ運転者と助手席乗員の頭や胸などへの衝撃を緩和します
- SRSニーエアバッグ運転者の衝撃緩和を補助します
SRSサイド&カーテンシールドエアバッグ
- SRSフロントサイドエアバッグフロント席乗員の胸などへの衝撃を緩和します
- SRSカーテンシールドエアバッグフロント席とリヤ外側席乗員の主に頭部への衝撃を緩和します
知識
- SRSエアバッグが作動すると
SRSエアバッグは高温のガスにより非常に速い速度でふくらむため、すり傷・やけど・打撲などを受けることがあります。
作動音と共に白いガスが発生します。
フロント席・フロントピラー・センターピラー・リヤピラー・ルーフサイドレールの一部分などだけでなく、エアバッグ構成部品(ハンドルのハブ、エアバッグカバー、インフレーター)も数分間熱くなることがあります。エアバッグそのものも熱くなります。
フロントウインドウガラスが破損することがあります。
自動的にブレーキと制動灯を制御します。(→セカンダリーコリジョンブレーキ)
室内灯が自動で点灯します。(→室内灯の自動点灯について)
非常点滅灯が自動で点滅します。(→非常点滅灯について)
燃料供給を停止します。(→フューエルポンプシャットオフシステム)
T-Connectの契約期間内は、次の場合、自動的に緊急通報がヘルプネットセンターに送信されます。オペレーターからの呼びかけに応答がない場合は、緊急車両などを手配します。
詳しくは「マルチメディア取扱書」を参照してください。SRSエアバッグが作動した
シートベルトプリテンショナーが作動した
後方から強い衝撃を受けた
- SRSエアバッグが作動するとき(フロントSRSエアバッグ)
フロントSRSエアバッグは、衝撃の強さが設定値(移動も変形もしない固定された壁に、車速約20~30km/hで正面衝突した場合の衝撃の強さに相当する値)以上の場合に作動します。
ただし、次のような場合はエアバッグが作動する車速は設定値より高くなります。駐車している車や標識のような衝撃によって移動や変形するものに衝突した場合
もぐり込むような衝突の場合(例えば、車両前部がもぐり込む、下に入り込む、トラックの下敷きになるなど)
衝突条件によってはシートベルトプリテンショナー、SRSニーエアバッグのみ作動する場合があります。
- SRSエアバッグが作動するとき(SRSサイド&カーテンシールドエアバッグ)
SRSサイド&カーテンシールドエアバッグは、衝撃の強さが設定値(約1.5tの車両が約20~30km/hの速度で客室へ直角に衝突した場合の衝撃の強さに相当する値)以上の場合に作動します。
- 衝突以外で作動するとき
次のような状況で車両下部に強い衝撃を受けたときも、フロントSRSエアバッグが作動する場合があります。
縁石や歩道の端など、固いものにぶつかったとき
深い穴や溝に落ちたり、乗りこえたとき
ジャンプして地面にぶつかったり、道路から落下したとき

- SRSエアバッグが作動しないとき(フロントSRSエアバッグ)
フロントSRSエアバッグは、側面や後方からの衝撃・横転・または低速での前方からの衝撃では、通常は作動しません。ただし、それらの衝撃が前方への減速を十分に引き起こす場合には、フロントSRSエアバッグが作動することがあります。
側面からの衝突
後方からの衝突
横転

- SRSエアバッグが作動しないとき(SRSサイド&カーテンシールドエアバッグ)
斜めから衝撃を受けた場合や、客室部分以外の側面に衝撃を受けたときには、SRSサイド&カーテンシールドエアバッグが作動しない場合があります。
客室部分以外の側面への衝撃
斜めからの衝撃

SRSサイド&カーテンシールドエアバッグは、前方や後方からの衝撃・横転・または低速での側面からの衝撃では、通常は作動しません。
前方からの衝突
後方からの衝突
横転

- トヨタ販売店に連絡が必要な場合
次のような場合には、点検・修理が必要になります。できるだけ早くトヨタ販売店へご連絡ください。
いずれかのSRSエアバッグがふくらんだとき
フロントSRSエアバッグはふくらまなかったが、事故で車両の前部を衝突したとき、または破損・変形などがあるとき

SRSサイド&カーテンシールドエアバッグはふくらまなかったが、事故でドアおよびその周辺部分を衝突したとき、または破損・変形・穴あきなどがあるとき

ハンドルのパッド部分・ダッシュボードの助手席SRSエアバッグ付近・インストルメントパネル下部が傷付いたり、ひび割れたり、その他の損傷を受けたとき

SRSサイドエアバッグが内蔵されているシート表面が傷付いたり、ひび割れたり、その他の損傷を受けたとき

SRSカーテンシールドエアバッグが内蔵されているフロントピラー部・リヤピラー部・ルーフサイド部が傷付いたり、ひび割れたり、その他の損傷を受けたとき

警告
- SRSエアバッグについて
次のことを必ずお守りください。
お守りいただかないと、重大な傷害におよぶか、最悪の場合死亡につながるおそれがあります。
運転者と乗員すべてがシートベルトを正しく着用してください。
SRSエアバッグはシートベルトを補助するためのものです。
助手席SRSエアバッグは強い力でふくらむため、特に乗員がエアバッグに近付きすぎると、重大な傷害におよぶか、最悪の場合死亡につながるおそれがあります。乗員がSRSエアバッグのふくらむ場所に近い場合は特に危険です。シートの背もたれを調整して、シートをできるだけSRSエアバッグから離し、まっすぐに座ってください。
お子さまがシートにしっかり座っていないと、SRSエアバッグのふくらむ衝撃で重大な傷害におよぶか、最悪の場合死亡につながるおそれがあります。お子さまが小さくてシートベルトを使用できないときは、チャイルドシートでしっかり固定してください。
お子さまはリヤ席に乗せ、チャイルドシートまたはシートベルトを着用させることをおすすめします。(→チャイルドシート)
シートの縁に座ったり、ダッシュボードにもたれかかったりしない

お子さまを助手席SRSエアバッグの前に立たせたり、ひざの上に抱いたりしない

運転者および助手席乗員は、ひざの上に何も持たない
ドアやフロントピラー・センターピラー・リヤピラー・ルーフサイドレールへ寄りかからない

助手席では、ドアに向かってひざをついたり、窓から顔や手を出したりしない

ダッシュボード・ハンドルのパッド部分・インストルメントパネル下部などには何も取り付けたり、置いたりしない

ドア・フロントウインドウガラス・ドアガラス・フロントピラーおよびリヤピラー・ルーフサイドレール・アシストグリップなどには何も取り付けない(速度制限ラベルを除く →タイヤパンク応急修理キットの内容/各部の名称)

コートフックにハンガーなどの硬いものをかけないでください。
SRSカーテンシールドエアバッグが作動したときに投げ出されて重大な傷害におよぶか、最悪の場合死亡につながるおそれがあります。
SRSニーエアバッグがふくらむ場所にビニールカバーが付いている場合は、取り除いてください。
SRSサイドエアバッグがふくらむ場所を覆うようなシートアクセサリーを使用しないでください。エアバッグが作動する際、アクセサリーが干渉するおそれがあります。そのようなアクセサリーがエアバッグが正常に作動するのをさまたげ、システムを不能にしたり、またはエアバッグが誤って作動したりして、重大な傷害におよぶか、最悪の場合死亡につながるおそれがあります。
SRSエアバッグシステム構成部品の周辺およびフロントドアの周辺は、強くたたくなど過度の力を加えないでください。
SRSエアバッグが正常に作動しなくなるおそれがあります。
SRSエアバッグがふくらんだ直後は、構成部品が熱くなっているため、ふれないでください。
SRSエアバッグがふくらんだあとに、もし呼吸が苦しく感じたら、ドアやドアガラスを開けて空気を入れるか、安全を確認して車外に出てください。皮膚の炎症を防ぐため、残留物はできるだけ早く洗い流してください。
SRSエアバッグが収納されているパッド部およびフロントピラーガーニッシュ部に傷が付いていたり、ひび割れがあるときは、そのまま使用せず、トヨタ販売店で交換してください。
- 改造・廃棄について
トヨタ販売店への相談なしに、次の改造・廃棄をしないでください。
SRSエアバッグが正常に作動しなくなったり、誤ってふくらむなどして、重大な傷害におよぶか、最悪の場合死亡につながるおそれがあります。
SRSエアバッグの取りはずし・取り付け・分解・修理
ハンドル・インストルメントパネル・ダッシュボード・シート・シート表皮・フロントピラー・センターピラー・リヤピラー・ルーフサイドレール・フロントドアパネル・フロントドアトリム・フロントドアスピーカーなどの周辺の修理・取りはずし・改造
フロントドアパネルの穴あけなどの改造
フロントフェンダー・フロントバンパー・車内側面部の修理・改造
グリルガード(ブルバー・カンガルーバーなど)・除雪装置・ウインチなどの取り付け
サスペンションの改造
CDプレーヤー・無線機などの電化製品の取り付け